Make: Alumacar
Model: N/A
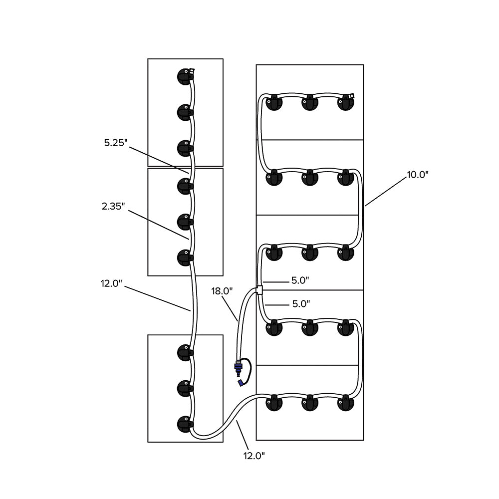
Cell to Cell Dimensions: 2.7"
Battery Voltage: 6v
# of Batteries: 8
Battery Manufacturer(s): Centennial, Crown, Duracell, Deka, Exide, Duracell, Deka, Interstate, Johnson Controls, Napa, Powertron, Trojan, US Battery
View the Valve Guide to confirm battery compatibility.
(Note: If your battery manufacturer is not listed, please contact us for further assistance.)
All orders from our established distributors must be submitted in writing. Please send all orders to orders@batterywatering.com or fax 336-714-0449.
If you are not an established customer please contact us at 336-714-0448 to learn more about how to purchase our products.
All kits ship with our standard blue connector (09MBLU1) and clear tubing (08TUB6) unless specified in writing on the order.
Toll Free: 1-877-522-5431
Phone: 336-714-0448
Orders: orders@batterywatering.com
Inquiry: freeinfo@batterywatering.com

Electric Vehicle only
Everything is provided for the kit. It is fully
assembled and ready for installation.

Electric Vehicle, RV, Marine, Solar
Everything is provided for the kit, however the tubing is attached to strings of multiple valves.

Electric Vehicle, RV, Marine, Solar
Everything is provided for the kit, however the tubing is not cut or attached to any of the valves.
Battery Watering Technologies offers multiple watering device options to accommodate the users preference of watering.
The i-Lite™ Valve takes the guesswork out of battery watering by alerting operators when electrolyte levels are low using an easy-to-understand blinking LED.